北京昌平30.05億元掛牌1宗居住用地 最高銷售單價6.33萬元/平_空間設計推薦

空間規劃推薦設計大師

不管是空間規劃、風格挑選、色彩搭配上,對於客戶的需求願意聆聽並提供專業規劃

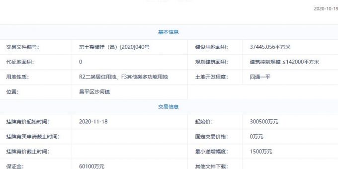
中國網地產訊 10月19日,北京市規劃和自然資源委員會掛牌1宗昌平區居住用地,起始價30.05億元。

地塊編號京土整儲掛(昌)[2020]040號,地塊名稱北京市昌平區沙河鎮七里渠南北村土地一級開發項目CP00-1804-0002地塊R2二類居住用地、CP00-1804-0012地塊F3其他類多功能用地,建設用地面積3.74萬平,用地性質為R2二類居住用地、F3其他類多功能用地,規劃建築面積≤142000平方米,起始價30.05億元。

空間設計推薦比價網

新古典家具現貨出售 喜歡新古典的朋友們現在釋出一批家具!

據土地出讓文件显示,本次出讓宗地中商品住房銷售均價不超過57500元/平方米,且最高銷售單價不得超過63300元/平方米。

(責任編輯:楊昊岳)
相關閱讀:

中國網地產是中國互聯網新聞中心·中國網旗下地產頻道,是國內官方、權威、專業的國家重點新聞網站。以引導正確的行業輿論導向為己任,為行業上下游關聯企業、相關產業提供一個高效溝通與互動的優質平台。

北部家具工廠推薦

鑫沅創造出古典氛圍,又符合現代人的實用需求,在歐洲大受好評

Author: admin